11年專業銷售工程師-徐工
15年專業銷售工程師-謝工
9年專業銷售工程師-王工
6年銷售工程師-張工
項目產品選型、技術指導高級電器工程師-李工
| 分類 | |
| 品牌 |
| 分類 | |
| 品牌 |
| 分類 | |
| 品牌 |
| 分類 |
|
| 品牌 |
|
優勢一:廣州南創是一家大型傳感器、儀器儀表、工業備品備件供應商!中國傳感器聯合會誠信“AAA”級成員,多家世界知名傳感企業中國市場開拓核心合作伙伴;
優勢二:完善的全國銷售服務網絡:12個區域辦事處、20個分公司、遍布全國的售后服務網點,為您及時便捷實現上門無憂售后服務;
優勢三:為國內多家知名大中型工業企業、航天工業企業提供國際工業自動化控制檢測設備及工業稱重系統和傳感器設備儀表,緊密依托中科院及清華大學的技術支持合作交流。技術、產品可靠值得信賴;
優勢四:鄭重承諾:三個月內產品有質量問題無條件退換貨;
優勢五:資深工程師為您提供全方位完善的一條龍銷售服務指導,售前專業方案設計、產品選型指導,售中安裝調試,售后三年上門免費跟蹤維修服務;
優勢六:全國優勢價格支持銷售,凡在我們公司購買產品,如果同類產品高于主流市場價格,我們雙倍補還差價,性價比高!
優勢七:我公司在國外設有7個境外專業采購中心,保證原裝進口,貨期快捷,價格具有優勢,可靠、放心
優勢八:我公司代理經銷169個品牌,全國同類產品系列全、品種多、多家知名企業中國合作伙伴代理。
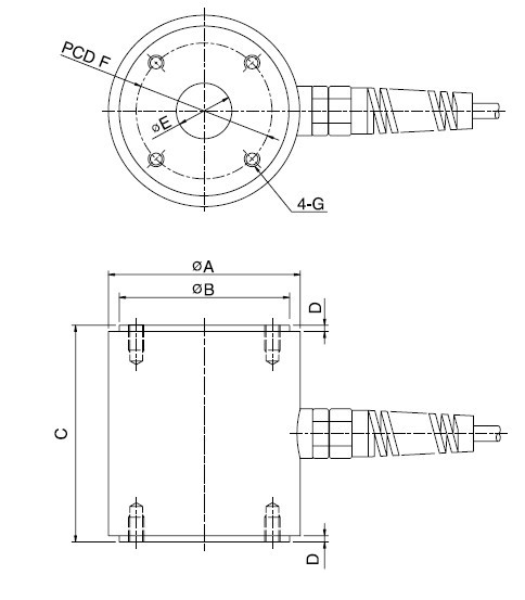
韓國Bongshin BCH-10T稱重傳感器詳細信息,韓國Bongshin稱重傳感器;以下這編是BCH-10T傳感器具體技術參數及相關系列產品型號等信息。
品牌:韓國Bongshin BCH-10T稱重傳感器
名稱:BCH-10T稱重傳感器
型號:BCH-10T傳感器
特性:傳感器
量程2-15KG
鋁合金結構
單點秤盤尺寸350MM*350MM
取得OIML R60 2500分度認證
防護等級IP65
有公制和英制螺紋
可選特性:取得EEX ia IIC T4防爆認證 取得FM防爆認證 防護等級IP67

BCH-10T稱重傳感器 BCH系列是專為負荷控制和
使用電源插在監測
新聞。它的設計也方便;每4
螺紋孔,在頂部和底部,與法蘭
類型是很有幫助的,安裝。
-強大的高容量設計
高合金鋼結構
額定輸出(1.0mV/V)

BCH-10T稱重傳感器規格技術參數:
BCH-10T稱重傳感器新型BCH
1,2,3,5,10,20,30,50
韓國Bongshin額定輸出(公司)1.0mv/v±1%
非線性≤0.5%公司
磁滯≤0.5%公司
非重復性≤0.5%公司
在≤20min蠕變誤差0.5%。
BCH-10T傳感器零平衡1%公司
溫度補償范圍- 10 ~ 70°C
工作溫度范圍20 ~ 80°C
溫度。在額定輸出±0.03%負載/ 10°C的影響
溫度。在零平衡±0.03%反滲透/ 10°C的影響
終端輸入電阻350歐姆±10歐姆
終端輸出阻抗350歐姆±10歐姆
BCH-10T傳感器絕緣電阻(分鐘)2000毫歐姆在50V直流
勵磁電壓10V(推薦),15V的(最大)
電氣連接
300%鋼筋混凝土極限過載

韓國Bongshin小型壓式稱重傳感器型號:
CBES-50kgf CBES-100kgf CBES-200kgf CBES-500kgf
CBES-1tf CBES-2tf CBES-3tf CBES-5tf CBES-10tf CBES-20tf
CMCS-500kgf CMCS-1tf CMCS-2tf CMCS-5tf CMCS-10tf
CDES-50kgf CDES-100kgf CDES-200kgf CDES-500kgf CDES-1000kgf CDES-2000kgf
CBFS-3kgf CBFS-5kgf CBFS-10kgf CBFS-30kgf CBFS-50kgf CBFS-100kgf
以下為您推薦閱讀:
BCH-20T_bongshin傳感器BCH-20T_韓國奉信BCH-20T
BCH-1T_bongshin傳感器BCH-1T_韓國奉信BCH-1T
BCH-5t,BCH-5t稱重傳感器BCH-5t
本站內容未經許可禁止復制轉載!©2002 廣州南創電子科技有限公司
聯系電話:020-82303306 公司傳真:020-82303511下班及雙休日請撥打各品牌負責人電話電話詳情
備案號: 粵ICP備11086172號-1